EF-C腭式闸门

腭式闸门适用于堆比重≤2.5t/m3的各类矿石、煤炭、焦炭、灰渣、化工产品等散状物料,广泛应用于建材、冶金、化工、玻璃等行业的仓底卸料。
结构特点
腭式闸门采用优质碳钢焊接成形,结构DuTe,运行灵活可靠,无卡阻现象。配用不同的传动装置能满足不同的工况需要。电动腭式闸门采用带有超载保护装置的电动推杆,可避免烧坏电机,可以远距离操纵或程序控制,往复行程可以精确调节位置自锁。电液动腭式闸门采用电液推杆,全液压传动,推拉力均可实现无级调速。气动腭式闸门采用气动推杆,通过配件组合可以远距离操纵或现场控制。SEF为手动,DEF为电动,Y为电液动,QEF为气动。
性能参数
适用温度 | 堆集比重 | 适用介质 |
≤300℃ | ≤2.5t/m3 | 晶体固体、煤炭、焦炭、灰渣、化工产品及各类矿石 |
传动装置参数:
规格 | 200 | 300~400 | 700~800 | 700~800 | 900~1000 |
闸门适合负荷(kg) | 89 | 185~240 | 1130~1720 | 1130~1720 | 2110~2950 |
电动推杆 | DTⅠA500M P:0.37kw | DTⅠA500M P:0.75kw | DTⅠA700M P:1.1kw | DTⅠA1000M P:1.1kw | DTⅠA1600M P:2.2kw |
电液动推杆 | DYT300 P:0.37kw | DYT450 P:0.55kw | DYT700 P:0.75kw | DYT1000 P:1.1kw | DYT1500 P:1.5kw |
气动推杆 | 10A-5V CA 100B | 10A-5V CA 100B | 10A-5V CA 125B | 10A-5V CA 160B | 10A-5V CA 200B |
工作原理:
腭式闸门由本体、扇形闸板、轴、齿轮、密封件、执行机构等部件构成。手动或执行机构推动摇杆,使齿轮带动扇形闸板沿轴心旋转,使两个扇形闸板向两边开启,物料随即下落,待接料装置满载后,再由执行机构带动摇杆,使扇形闸板复位,关闭截断下落的物料。
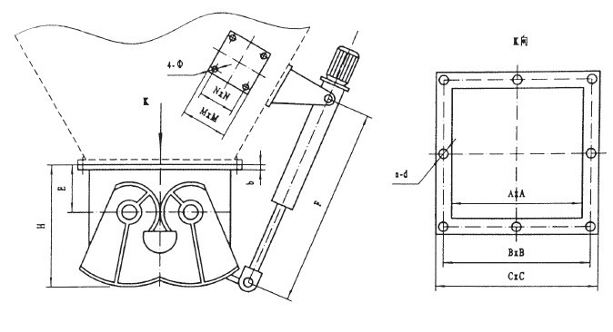
EF-C外形图:

EF-C外形连接尺寸:
A×A | B×B | C×C | b | E | F | n-d | H | N | M | Φ |
200×200 | 245×245 | 280×280 | 6 | 90 | 350 | 8-Φ12 | 280 | 280 | 320 | 26 |
300×300 | 355×355 | 400×400 | 8 | 100 | 400 | 12-Φ12 | 300 | 300 | 320 | 26 |
400×400 | 455×455 | 500×500 | 8 | 120 | 460 | 16-Φ14 | 360 | 360 | 320 | 26 |
500×500 | 555×555 | 600×600 | 10 | 150 | 510 | 20-Φ14 | 480 | 480 | 320 | 26 |
600×600 | 655×655 | 700×700 | 10 | 180 | 560 | 20-Φ14 | 600 | 600 | 320 | 26 |
700×700 | 755×755 | 800×800 | 12 | 220 | 610 | 20-Φ14 | 660 | 660 | 360 | 32 |
800×800 | 855×855 | 900×900 | 12 | 240 | 660 | 24-Φ14 | 760 | 760 | 360 | 32 |
900×900 | 955×955 | 1000×1000 | 14 | 280 | 720 | 24-Φ14 | 900 | 900 | 360 | 32 |
1000×1000 | 1070×1070 | 1130×1130 | 14 | 350 | 880 | 28-Φ18 | 1040 | 1040 | 360 | 32 |
使用说明:
※安装时请注意闸门本体上标明介质流向。两法兰连接时必需加密封垫片,然后均匀锁紧螺栓。
※运行时请辨清扇形闸板开关方向,执行机构请正确接线。
※运行时请定期给各传动部位加润滑油。


