防爆阀FBF-Ⅲ
概述
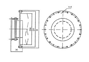
该阀广泛适用于建材、冶金、化工、电工等行业部门,作为压缩易爆管道的卸料装置。该阀结构简单,由法兰、盲板、筒体和防爆阀片组成。当系统压力大于表压力时,防爆阀片自行破裂,防止系统发生爆炸。以保证生产和人身安全。
技术参数表
使用压力 | 适用温度 | 适用介质 |
≤0.1Mpa | ≤150℃ | 压缩易爆气体 |
FBF-Ⅲ图示

主要连接尺寸
DN | D | D1 | H | m-d | 重量(kg) |
700 | 860 | 810 | 265 | 24-Φ26 | 134 |
750 | 920 | 865 | 265 | 24-Φ30 | 147 |
800 | 975 | 920 | 265 | 24-Φ30 | 159 |
900 | 1075 | 1020 | 265 | 24-Φ30 | 186 |
1000 | 1175 | 1120 | 265 | 28-Φ30 | 213 |
1100 | 1302 | 1240 | 265 | 28-Φ30 | 241 |
1200 | 1405 | 1340 | 265 | 32-Φ30 | 272 |


