水泥储存库

一、概述
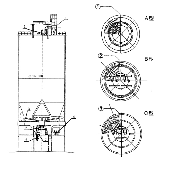
水泥储存库是在库底中心位置设一锥形混合室,以降低库内的卸料压力,消除漏斗流。混合室设8-12个进料孔,在混合室和库壁之间的环形区设有8-12个充气区,卸料时轮流向相对的环形小区充气,使部分水泥流向中心混合室。在自上而下的流动过程中,切割水平料层而产生重力混合作用,进入混合室后又因混合室内的连续充气搅拌而进一步均化。这种库的均化值可达5-9。电耗0.15-0.30kwh/t。
二、水泥储存库示意图

三、 Φ
|
序号
|
名称及规格
|
数量
|
单位
|
|
1
|
气箱式脉冲收尘器PPC32-4 风机:9-26No8D
|
1
|
套
|
|
2
|
库顶进料系统
|
1
|
套
|
|
3
|
库底、库内充气系统
|
1
|
套
|
|
4
|
双六咀空气分配阀2-Φ500
|
1
|
台
|
|
5
|
库底卸料阀系统
|
2
|
套
|
|
6
|
库底散装机 ZSQ300/600
|
1
|
台
|
|
7
|
罗茨风机MJL200b风量:15.4m3/min 风压:68.4Kpa 功率:37KW
|
1
|
台
|
上一页:[均化库]
下一页:


