电动调节蝶阀ZAJW-6Mn

概述
电动调节蝶阀普遍适用于建材、冶金、矿山、石化、电力、轻工、造纸等行业。对气体、各种半流体等介质按不同控制信号改变其流量大小或关闭。电动调节蝶阀,电动调节蝶阀采用优质碳素钢焊接。具有体积小、重量轻、耐磨损、流阻损失小、泄漏量小、操作灵活等优点。电动调节蝶阀可水平安装或垂直安装。配用DKJ、ZKJ电动执行器,可实现手动、自动无干扰切换、自动调节,微机程序,自动控制或中央集中控制,是控制、操作、调切流量实现自动化的理想配套设备。
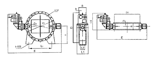
ZAJW-6Mn外形图(水平安装) ZAJW-6Mn外形图(垂直安装)

|
工作压力 |
适用温度 |
适用介质 |
|
0.06MPa |
≤300℃ |
空气、烟气、煤气、粉尘气体等 |
ZAJW-6Mn外形连接尺寸
|
DN |
D |
D1 |
B |
b |
N - d |
E |
H |
L1 |
L2 |
L3 |
L4 |
电动执 行器 |
电动功率 |
重量(kg) |
|
|
100 |
210 |
170 |
180 |
12 |
4 -Φ18 |
855 |
无基脚 |
450 |
600 |
DKJ - 210 ZAJ - 210 |
OA - 10 |
0.025 KW |
75 |
||
|
150 |
265 |
225 |
8 -Φ18 |
905 |
88 |
||||||||||
|
200 |
320 |
280 |
980 |
95 |
|||||||||||
|
250 |
375 |
335 |
12 - Φ |
1030 |
108 |
||||||||||
|
300 |
440 |
395 |
220 |
14 |
12 - Φ22 |
1080 |
640 |
121 |
|||||||
|
350 |
490 |
445 |
1130 |
136 |
|||||||||||
|
400 |
540 |
495 |
16 - Φ22 |
1204 |
500 |
620 |
DKJ - 310 ZAJ - 310 |
AS - 25 |
0.065 KW |
157 |
|||||
|
450 |
595 |
550 |
1254 |
177 |
|||||||||||
|
500 |
645 |
600 |
20 - Φ |
1340 |
183 |
||||||||||
|
550 |
705 |
655 |
20 - Φ26 |
1509 |
218 |
||||||||||
|
600 |
755 |
705 |
1609 |
237 |
|||||||||||
|
650 |
810 |
760 |
240 |
18 |
1675 |
600 |
700 |
DKJ - 410 ZAJ - 410 |
BS - 60 |
0.16 KW |
259 |
||||
|
700 |
860 |
810 |
24 - Φ |
1817 |
326 |
||||||||||
|
800 |
975 |
920 |
24 - Φ30 |
1917 |
298 |
||||||||||
|
900 |
1075 |
1020 |
2077 |
431 |
|||||||||||
|
1000 |
1175 |
1120 |
26 |
28 - Φ30 |
2177 |
620 |
780 |
DKJ - 510 ZAJ - 510 |
B + RS 160 |
0.4 KW |
447 |
||||
|
1100 |
1275 |
1220 |
280 |
2277 |
690 |
1070 |
120 |
495 |
|||||||
|
1200 |
1375 |
1320 |
32 - Φ30 |
2377 |
740 |
1170 |
512 |
||||||||
|
1250 |
1425 |
1370 |
2530 |
765 |
1230 |
523 |
|||||||||
|
1300 |
1475 |
1420 |
320 |
2615 |
790 |
1270 |
820 |
535 |
|||||||
|
1400 |
1575 |
1520 |
36 - Φ30 |
2715 |
840 |
1360 |
571 |
||||||||
|
1500 |
1690 |
1630 |
26 |
2865 |
925 |
1470 |
596 |
||||||||
|
1600 |
1790 |
1730 |
40-Φ |
2965 |
975 |
1550 |
888 |
||||||||
|
1700 |
1890 |
1830 |
360 |
44 - Φ30 |
3065 |
1025 |
1650 |
170 |
650 |
950 |
DKJ - 610A ZAJ - 610A |
B + RS 250 |
0.65 KW |
779 |
|
|
1800 |
1990 |
1930 |
3165 |
1075 |
1730 |
825 |
|||||||||
|
1900 |
2090 |
2030 |
30 |
48 - Φ30 |
3285 |
1125 |
1830 |
935 |
|||||||
|
2000 |
2190 |
2130 |
3385 |
1175 |
1930 |
1065 |
|||||||||
|
2100 |
2305 |
2240 |
52 - Φ33 |
3485 |
1237 |
2080 |
1295 |
||||||||
|
2200 |
2405 |
2340 |
3585 |
1287 |
2180 |
1575 |
|||||||||
|
2300 |
2505 |
2440 |
440 |
34 |
56 - Φ33 |
3685 |
1337 |
2280 |
210 |
1000 |
DKJ - 610 ZAJ - 610 |
B + RS 400 |
1.0 KW |
1835 |
|
|
2400 |
2605 |
2540 |
3785 |
1387 |
2380 |
2212 |
|||||||||
|
2500 |
2705 |
2640 |
60 - Φ33 |
3895 |
1437 |
2480 |
2685 |
||||||||
|
2600 |
2805 |
2740 |
3995 |
1487 |
2580 |
2937 |
|||||||||
|
2700 |
2930 |
2860 |
440 |
38 |
64 - Φ36 |
4155 |
1550 |
2645 |
750 |
1350 |
DKJ - 10 ZAJ - 10 |
B + RS 600 |
1.0 KW |
3275 |
|
|
2800 |
3030 |
2960 |
4255 |
1600 |
2745 |
3650 |
|||||||||
|
2900 |
3130 |
3060 |
68 - Φ36 |
4355 |
1650 |
2845 |
3910 |
||||||||
|
3000 |
3230 |
3160 |
4455 |
1700 |
2945 |
4140 |
|||||||||
您可能会对以下产品感兴趣
产品好不好 用我们的业绩证明
奥普核心合作伙伴
企业规模怎么样 用我们的资质说明
生产能力怎么样 用我们的设备和团队表明
新闻动态
- 侧式悬臂堆料机的构造及原理
- 什么是 熟料散装机,有哪三大性能特点
- 什么是 气箱脉冲布袋除尘器,安装注意事项概述
- 桥式刮板取料机的特点及操作注意事项
- 什么是圆盘给料机,有哪些优势特点
- 斗式提升机的六大特点概述
- 操作连续式均化库的四大注意事项
- 移动式堆料机三大优势特点及使用步骤
- 关于网站内容违禁词、极限词失效说明
- 斗式提升机的工作过程分为哪三个阶段
- 电动百叶阀和蝶阀的区别,别错过
- 介绍一下手动蝶阀的特点
- 手动蝶阀具有较好的流量控制特性
- 电动调节蝶阀是工业自动化控制领域中的重要执行单元
- 电液动扇形闸门采用全封闭结构
- 电动调节蝶阀的分类
- 电动调节蝶阀属于电动阀门和电动调节阀中的一个品种
- 平衡阀结构特点跟工作原理


